Galvanische Trennung

Digitaler Koppler und DC/DC-Wandler in einem

6. Juli 2017, 14:46 Uhr | Harry Schubert
Digitaler Koppler mit integriertem DC/DC-Wandler: ISOW784x
© Texas Instruments

Der Aufbau eines Multi-Chip-Moduls kann Vorteile haben, z.B. wenn, wie bei Kopplern, eine hohe Isolationsfestigkeit zwischen Primär- und Sekundärseite gefordert wird. Dann kann auch noch ein DC/DC-Wandler ins Modul integriert werden.

Diesen Artikel anhören

Sein Angebot an digitalen Kopplern erweitert Texas Instruments mit der Reihe ISOW784x um eine Version mit integriertem DC/DC-Wandler, um eine geregelte und galvanisch getrennte Spannung von 3,3 V oder 5 V für die Sekundärseite zu erzeugen.

Durch die Kombination in einem IC können Messschaltungen, die isoliert betrieben werden müssen, kleiner ausgeführt werden, da die erforderliche Stromversorgung für die Messschaltung nicht mehr separat hinzugefügt werden muss, sie ist bereits im digitalen Koppler integriert.

 

 

Digitaler Koppler mit integriertem DC/DC-Wandler

Galvanisch trennende Messchaltung mit Stromversorgung
© Texas Instruments
Blockschaltung des digitalen Kopplers ISOW784x mit DC/DC-Wandler.
© Texas Instruments
Blockschaltung des digitalen Kopplers ISOW784x mit DC/DC-Wandler.
© Texas Instruments

Alle Bilder anzeigen (5)

 

 

Kapazitive Kopplung

Für die galvanische Trennung seiner digitalen Koppler nutzt Texas Instruments Kondensatoren mit SiO2 als Dielektrikum. Um die hohe Isolation – 5 kVeff (nach UL1577), 7 kVS (nach DIN V VDE V 0884-10) – zu erreichen, realisiert Texas Instruments seine kapazitiven Koppler als Multi-Chip-Modul (siehe Bildergalerie).

Auf den Oberseiten der nebeneinander platzierten Chips – ein Chip als Sender, einer als Empfänger – werden mit den für CMOS- oder analoge ICs üblichen Fertigungsverfahren vertikale Kondensatoren erzeugt. Sie bestehen aus zwei übereinander angeordneten Metallflächen (Platten) mit mehreren Schichten SiO2 als Dielektrikum.

Im Multi-Chip-Modul werden die oberen Kondensatorflächen per Bonddraht verbunden, so dass eine Reihenschaltung aus zwei Kondensatoren entsteht und sich die Isolierspannung der beiden Kondensatoren summiert. Als Vorteil der kapazitiven Kopplung führt Texas Instruments den niedrigen Leistungsbedarf an. 

 

Digitaler Koppler ISOW784x

Vergleich der Gehäusetemperaturen eines induktiven und eines kapazitiven digitalen Kopplers.
© Texas Instruments
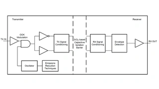
Blockschaltung der Übertragungsstecke im digitalen Koppler ISOW784x von Texas Instruments
© Texas Instruments
ISOW784x von Texas Instruments erfüllen die EMV-Anforderungen für Störaussendung entsprechend EN 55022
© Texas Instruments

Alle Bilder anzeigen (3)

 

Zur Übertragung der digitalen Signale – bis zu 100 Mbit/s sind mit den Kopplern der Reihe ISOW784x möglich – zwischen Sender und Empfänger wendet Texas Instruments die als OOK (On-Off Keying) bezeichnete Form der Amplitudenmodulation an, bei der der HF-Träger entsprechend der binären Nutzinformation ein- und ausgeschaltet wird.


  1. Digitaler Koppler und DC/DC-Wandler in einem
  2. DC/DC-Wandler mit Chip-Transformator

Lesen Sie mehr zum Thema


Das könnte Sie auch interessieren

Jetzt kostenfreie Newsletter bestellen!

Weitere Artikel zu Texas Instruments

Weitere Artikel zu Texas Instruments Deutschland GmbH

Weitere Artikel zu Schnittstellen-ICs

Weitere Artikel zu HF- und Kommunikations-ICs

Weitere Artikel zu Logik-ICs sonstige

Weitere Artikel zu Analog-Frontend-ICs