MOSFETs im TO-220 FullPAK Wide Creepage

Isolationskriterien erfüllen

23. Mai 2017, 10:00 Uhr | Von Srivatsa Raghunath
Diesen Artikel anhören

Fortsetzung des Artikels von Teil 2

CoolMOS-CE-MOSFETs

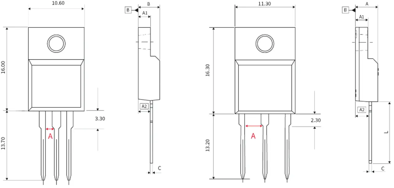
Technische Zeichnung vom TO-220-FullPAK-Wide-Creepage-Gehäuse und vom  Standard-TO-220-FullPAK-Gehäuse mit markierter Kriechstrecke
Bild 3. Da TO-220-FullPAK-Wide-Creepage-Gehäuse (in den beiden rechten Zeichnungen) hat ähnliche Abmessungen wie das Standard-TO-220-FullPAK-Gehäuse (links), jedoch eine um 1,38 mm längere Kriechstrecke (im Bild mit rotem »A« gekennzeichnet.)
© Infineon

Die CoolMOS-CE-Superjunction-Technologie wurde speziell auf die Belange von Konsumanwendungen optimiert. CoolMOS CE bietet eine sehr gute Marge von typischen zu nominalen Durchlasswiderständen RDS(on), die zu niedrigen Leitungsverlusten und dadurch zu einem reduzierten Leistungsbedarf bei sehr gutem thermischem Verhalten führt.

Das Design mit den CoolMOS-CE-Komponenten wird durch ihr optimiertes EMI-Verhalten (EN-55022B-konform) und den integrierten Gate-Widerstand (RG) für eine verbesserte Ansteuerung vereinfacht. Die CE-MOSFETs sind für Anwendungen in Schaltnetzteilen ausgelegt, wie sie bei Adaptern, Ladegeräten, PCs, Fernsehern und Innenbeleuchtungen zum Einsatz kommen.

Um eine hohe Zuverlässigkeit zu gewährleisten, werden die CoolMOS-CE-Komponenten entsprechend den Applikationsbedingungen getestet und qualifiziert. So basiert zum Beispiel der TC- (Temperature Cycle) Test auf der zu erwartenden Lebenszeit des Endproduktes, unter Berücksichtigung des Betriebs bei Umgebungstemperatur sowie der Anzahl der Ein-/Ausschalt-Zyklen. Während ein typisches Konsumelektronik-Produkt für 200 Temperaturzyklen ausgelegt ist, werden die CoolMOS-CE-Bausteine von Infineon auf bis zu 500 Zyklen getestet.

Der HTRB- (High Temperature Reverse Bias) Test spiegelt das typische Lastprofil für die Applikation einschließlich der Lastbedingungen und Lastdauer wider. Üblicherweise wird der HTRB-Test bei der Qualifizierung für 168 Stunden durchgeführt. Auch hier übertreffen die CoolMOS-CE-Bauelemente die Anforderungen mit einer Testdauer von 500 Stunden.

Die CoolMOS-Wide-Creepage-MOSFETs ergänzen das bisherige CoolMOS-CE-Portfolio. Sie sind mit Durchlasswiderständen von 190 mΩ bis 950 mΩ bei Sperrspannungen von 600 V sowie 700 V erhältlich und durch ein »W« in der Bauteilnummer gekennzeichnet. So ist der IPAW60R190CE beispielsweise ein Wide-Creepage-Baustein mit 600 V und 190 mΩ im TO-220-FullPAK-Gehäuse.


  1. Isolationskriterien erfüllen
  2. Der Parameter Kriechstrecke
  3. CoolMOS-CE-MOSFETs
  4. Der Autor

Lesen Sie mehr zum Thema


Das könnte Sie auch interessieren

Jetzt kostenfreie Newsletter bestellen!

Weitere Artikel zu Infineon Technologies AG

Weitere Artikel zu Leistungshalbleiter-ICs

Weitere Artikel zu Leistungsmodule