Effizientes VLC-Systemdesign

Prinzipien der Kommunikation mit sichtbarem Licht

19. Oktober 2021, 17:22 Uhr | Nicole Wörner
Diesen Artikel anhören

Fortsetzung des Artikels von Teil 1

VLC-basierte Ortung

Für die Positionierung/Ortung in Innenräumen gibt es viele Anwendungen. Im industriellen Einsatz lassen sich damit beispielsweise automatisch geführte Fahrzeuge (AGV; Automatically Guided Vehicles) durch Fertigungsstraßen und Lagerhallen leiten, oder die Navigation in großen öffentlichen Gebäuden wie Flughäfen, Krankenhäusern oder Sportstadien wird erleichtert.

Während das Global Positioning System (GPS) für die Positionsbestimmung im Freien sehr effektiv ist, eignet es sich nicht für den genauen Einsatz in Innenräumen. Die Signale können viele Gebäude nicht durchdringen, und wenn dies doch der Fall ist, schränkt die Mehrwegeausbreitung, bei der die Signale an Wänden und Objekten abprallen, die Leistungsfähigkeit erheblich ein. VLC ist in der Lage, in Innenräumen eine Positionierungs-/Ortungsgenauigkeit im zweistelligen Zentimeter-Bereich zu erzielen und übertrifft damit HF-basierte Lösungen deutlich.

Anbieter zum Thema

zu Matchmaker+
Die Advanced Light Engine NCL31000 von onsemi
Die Advanced Light Engine NCL31000 von onsemi
© onsemi

Lichtbasierte Positionierungssysteme in Innenräumen nutzen vorhandene Beleuchtungssysteme. Jedes LED-Vorschaltgerät hat eine eindeutige Kennung, die in das Signal kodiert ist, das die Leuchte ansteuert. Das Licht wird damit moduliert und überträgt ständig seine Identität. Für das menschliche Sehvermögen sind diese schnellen Impulse nicht wahrnehmbar, aber Geräte wie Smartphones können sie erfassen und erkennen.

Befindet sich ein solches Gerät in Reichweite mehrerer (drei oder mehr) Leuchten, von denen jede einen eindeutigen Code hat, kann ein einfacher Triangulationsalgorithmus die Entfernung zu jeder Leuchte berechnen und daraus die Position ableiten.

VLC-Technik

Im VLC-Bereich sind Effizienz und kompakte Größe zwei Herausforderungen, denen sich alle Entwickler stellen müssen – auch diejenigen, die Erfahrung mit dem Design von Leuchten haben.

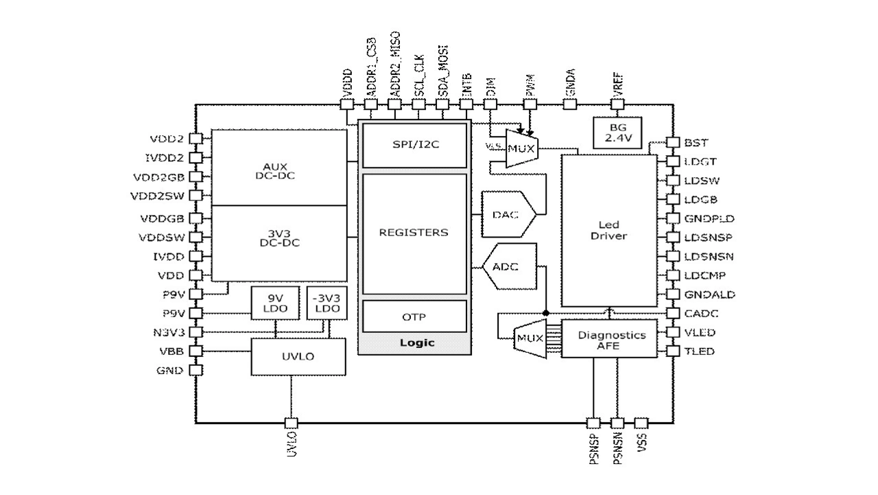
Hier setzt onsemi mit Bauelementen an, die die Integration und Leistungsfähigkeit intelligenter Beleuchtungssysteme wie den hier beschriebenen VLC-Systemen verbessern. Der LED-Treiber NCL31000 beispielsweise wurde speziell für LED-basierte Leuchten entwickelt und ist ein voll ausgestatteter Baustein, der alles bietet, was für hocheffiziente LED-Beleuchtungssysteme nötig ist.

Im Mittelpunkt des Systems steht ein hocheffizienter (97% Wirkungsgrad) Abwärts-LED-Treiber, der analoges Dimmen mit hoher Bandbreite und PWM-Dimmen auf Nullstrom unterstützt. Der NCL31000 enthält einen festen 3,3-V- und einen einstellbaren DC/DC-Wandler (2,5 V > 24 V) zur Versorgung von Sensoren oder anderen Systemkomponenten. Dadurch vereinfacht sich das Systemdesign, das Designrisiko wird reduziert und die Gesamteffizienz erhöht. Die Architektur des NCL31000 sorgt für eine außergewöhnliche EMV und übertrifft die Anforderungen von CISPR15 / EN55015 um >14 dB.

Präzises lineares Dimmen ermöglicht die Kommunikation mit sichtbarem Licht und damit lichtbasierte Positionierungssysteme für den Innenbereich. Die Möglichkeit, mit einer Genauigkeit von 0,1 % auf echte Dunkelheit zu dimmen, stellt sicher, dass bei den niedrigsten Dimmeinstellungen kein Geisterlicht auftritt.

Umfassende Diagnosen werden von einem A/D-Wandler (ADC) abgeleitet, der Systemströme und -spannungen verfolgt. Die Messung von Eingangs- und Ausgangsströmen und -spannungen mit hoher Genauigkeit (±1 %) ermöglicht die Überwachung der Energieeffizienz und des LED-Lastzustands. Die Diagnose umfasst auch die DC/DC-Wandler und die LED-Temperatur. Alle Daten werden über eine I2C- oder SPI-Schnittstelle einer externen MCU zur Verfügung gestellt.

Eine abgespeckte Version des NCL31000 (der NCL31001) verzichtet auf die DC/DC-Wandler, die in Beleuchtungen mit mehreren LED-Strängen nicht erforderlich sind. Dieser kann in solchen Anwendungen als kostengünstigere Lösung eingesetzt werden.

Fazit

Obwohl es sich nicht um ein neues Konzept handelt, ist die Möglichkeit, Daten per Licht zu übertragen nun ausgereift und wird immer beliebter, weil sie energieeffizient, robust, sicher und ohne die vielen Herausforderungen der Funk-/HF-Übertragung einhergeht. Dies ermöglicht anspruchsvollere Anwendungen wie Positionierungs-/Ortungssysteme für Innenräume. Weil diese auf Licht basieren, können sie überall eingesetzt werden – auch in Bereichen, in denen Funk/HF ausgeschlossen ist, z.B. in Krankenhäusern und im Bergbau.

Neben einem umfassenden Angebot für vernetzte Beleuchtung erschließt die Light Engine NCL31000 von onsemi neue und bestehende Märkte für die Kommunikation mit sichtbarem Licht. Damit steht eine hocheffiziente, vollintegrierte Lösung bereit, mit der sich Produkte schneller auf den Markt bringen lassen. Der NCL31000 eignet sich auch für andere Bereiche, u.a. die Hintergrundbeleuchtung in professionellen Displays, mehrkanalige geregelte Beleuchtungssysteme in Gewächshäusern und andere vernetzte Beleuchtungsanwendungen im Innen- und Außenbereich.


  1. Prinzipien der Kommunikation mit sichtbarem Licht
  2. VLC-basierte Ortung

Lesen Sie mehr zum Thema


Das könnte Sie auch interessieren

Jetzt kostenfreie Newsletter bestellen!

Weitere Artikel zu onsemi Germany GmbH

Weitere Artikel zu LEDs

Weitere Artikel zu Beleuchtung