Mikrocontroller für Motorsteuerungen

Drehzahlsteuerung statt nur Ein/Aus

2. April 2020, 10:40 Uhr | Harry Schubert
Mit dem Mikrocontroller RX13T will Renesas den Bau kompakter Motorsteuerungen ermöglichen.
© Renesas Electronics

Mit dem 32-bit-Mikrocontroller RX13T ermöglicht Renesas besonders kompakte Motorsteuerungen - mit wenigen externen Komponenten. Damit sollen effiziente Motorsteuerungen auch dort realisiert werden können, wo Motoren bisher nur ein- und ausgeschaltet wurden. 

Diesen Artikel anhören

Die neue 32-bit-Mikrocontroller-Familie RX13T von Renesas Electronics  ermöglicht eine effiziente Steuerung von Wechselrichtern für kleine Motoren, wie sie z.B. in Lüftern oder Pumpen in Konsumgeräten und Industrieanwendungen eingesetzt werden. Damit sollen Motorsteuerungen in Geräte und Anwendungen möglich werden, in denen bisher der Motorbetrieb nur durch Ein- und Ausschalten gesteuert wurde.

Zu solchen Anwendungen zählt Renesas in Fabriken installierte Motoren, bei denen Energieeffizienz Priorität hat, wie z.B. Pumpenantriebe oder Kühlventilatoren für Server in Rechenzentren, sowie akkubetriebene Haushaltsgeräte, die längere Betriebszeiten erfordern, wie Elektrowerkzeuge und Staubsauger.
 

Mikrocontroller mit Gleitkommaeinheit

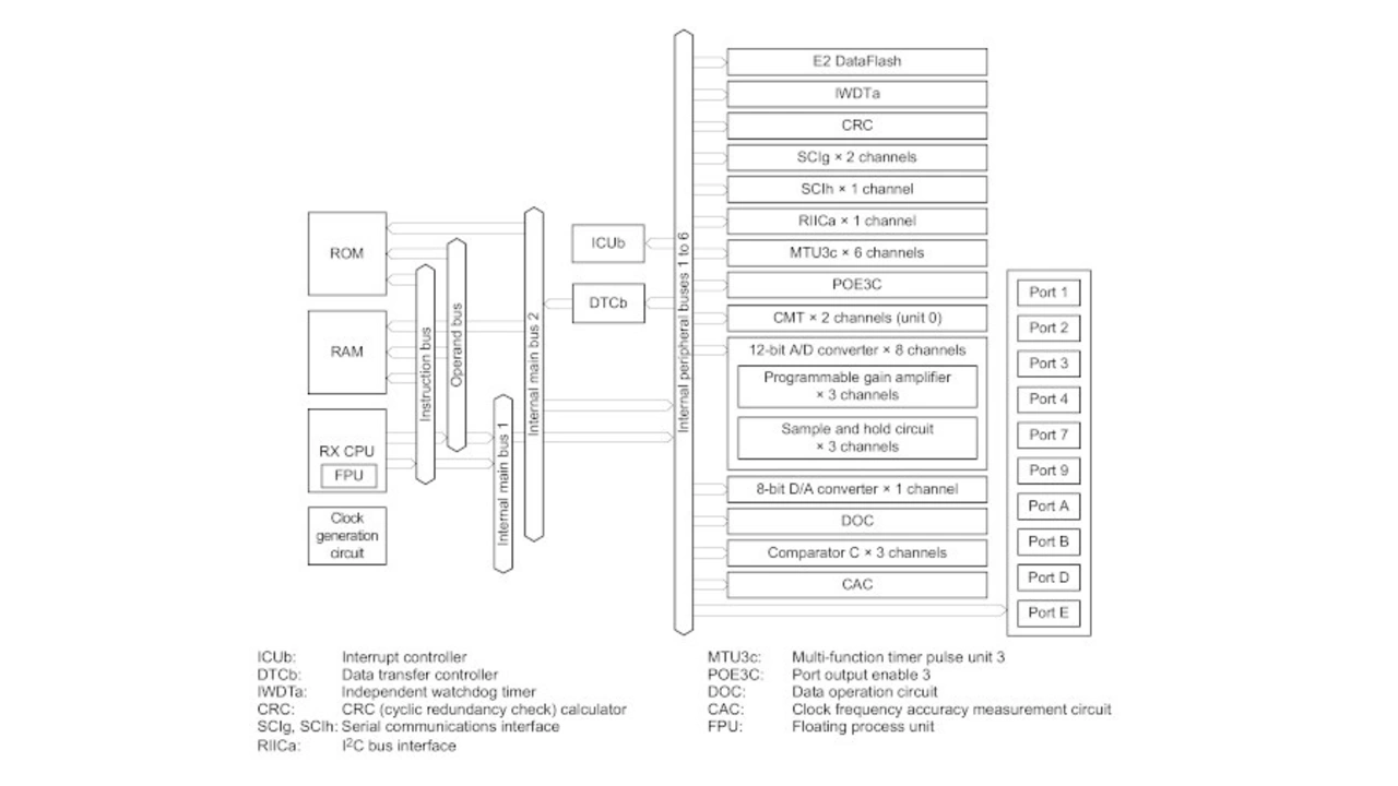
Blockschaltung Mikrocontroller RX13T von Renesas
Die Mikrocontroller der RX13T-Familie enthalten eine Gleitkommaeinheit und Peripherie zum Messen der drei Phasenströme sowie einen separaten Flash-Speicherbereich für Daten.
© Renesas Electronics
Datenblatt Mikrocontroller RX13T

 

Mit den Mikrocontrollern der neuen RX13T-Familie sind Motorsteuerungen mit höherem Wirkungsgrad zu geringeren Bauteilkosten als bisher möglich. In den Mikrocontrollern sind Funktionen integriert, die für die Steuerung eines Wechselrichters für Motoren optimiert sind. Sie sorgen auch dafür, dass die Anzahl der erforderlichen Peripheriekomponenten reduziert werden konnte - was auch den Einsatz von IC-Gehäuse mit nur 32 Anschlüssen erlaubt.

Die RX13T sind nach Aussage von Renesas die ersten Mikrocontroller, die bei 32 MHz arbeiten und eine Gleitkommaeinheit (FPU) enthalten. Sie bieten bewährte Funktionen der RX-Mikrocontrollerfamilie, wie z.B. Inverter Control Timer (MTU3), 12 bit A/D-Umsetzer, PGA (Programmable Gain Amplifier) und Daten-Flash-Speicher. Damit lässt sich die Motorsteuerung für einen kollektorlosen Gleichstrommotor mit einem einzigen IC ausführen.

Hauptmerkmale der RX13T-Mikrocontroller:

  • RXv1-Prozessorkern mit einer Taktfrequenz von 32 MHz und einer CoreMark-Leistung von 98,56.
  • Dank On-Chip-FPU ist keine Überlaufverarbeitung bei Festkommarechenoperationen mehr nötig. Dies verbessert die Lesbarkeit von Software-Code.
  • Unterstützung für einen großen Versorgungsspannungsbereich von 2,7 V bis 5,5 V. Der Betrieb an 5 V bietet ein hohes Maß an Rauschunterdrückung.
  • Ein MTU3-Timermodul für die Wechselrichtersteuerung. Der Taktzähler des Timers arbeitet mit einer hohen Taktfrequenz, die der CPU-Taktfrequenz entspricht. Dies vereinfacht die Entwicklung komplementärer PWM-Ausgänge mit Totzeit, die für die Wechselrichtersteuerung erforderlich sind.
  • Jeder der drei Kanäle verfügt über eine Sample- und Hold-Funktion. Dies ermöglicht das gleichzeitige Messen der drei Phasenströme. Dadurch entfällt die Notwendigkeit einer Fehlerkorrektur - was die Software vereinfacht.
  • Im Mikrocontroller sind 128 KB oder 64 KB Flash-Speicher für Code und 12 KB SRAM integriert sowie zusätzliche 4 KB Flash-Speicher für Daten. Damit entfällt der Bedarf an externem EEPROM.
  • Integrierte Peripheriefunktionen, wie Dreikanal-PGA, Dreikanal-Komparator und HF-Oszillator (HOCO, Genauigkeit von ±1,0 %) reduzieren den Bedarf an Peripheriekomponenten.

Innerhalb der RX-Familie sind die RX13T-Mikrocontroller die ersten, die sowohl in einem kompakten LQFP-Gehäuse mit 32 Anschlüssen als auch in einem LFQFP-Gehäuse mit 48 Anschlüssen erhältlich sind. Renesas plant außerdem, noch kleinere Versionen mit 32 Pin in einem 5 × 5 mm2 großen und 48 Pin in einem 7 × 7mm2 großen QFN-Gehäuse anzubieten.

Kompatibel zu anderen RX-Mikrocontrollern

Zu den Mikrocontrollern RX23T und RX24T sind die RX13T kompatibel in Bezug auf Timer und Pin-Konfigurationen. Damit erleichtert es Renesas Entwicklern, vorhandene Hardware und Software wiederzuverwenden.

Entwicklungskit »24V Motor Control Evaluation System for RX23T« von Renesas
Für das Entwicklungskit »24V Motor Control Evaluation System for RX23T« bietet Renesas eine RX13T-CPU-Karte an, um Motorsteuerungen auf Basis des RX13T zu entwickeln.
© Renesas Electronics

Zum Entwicklungskit für Motorsteuerungen auf Basis des RX23T (24V Motor Control Evaluation System for RX23T) bietet Renesas eine RX13T-CPU-Karte an. Sie umfasst Emulator-Funktionen, wodurch kein On-Chip-Debugging-Emulator mehr benötigt wird. Entwickler können unmittelbar mit der Evaluierung beginnen, indem sie die CPU-Karte einfach mit einem USB-Kabel an einen PC anschließen.

Beispielcode für Motorsteuerungen zur sensorlosen Vektorsteuerung ist ebenfalls verfügbar und unterstützt das Renesas Motor Workbench 2.0 Tool für die Motorsteuerungsentwicklung. Die Motor Workbench 2.0  bietet Entwicklern alles, was sie für den Einstieg in die Evaluierung von Motorsteuerungsanwendungen benötigen.

Die Mikrocontroller der RX13T-Familie sind für einen Betriebstemperaturbereich von –40 °C bis 85 °C oder –40 °C bis 105 °C erhältlich.

Sakae Ito, Vice President der IoT Platform Business Division bei Renesas: »Mit dem RX13T belegt Renesas sein kontinuierliches Engagement, Anwender bei der Realisierung von energie- und kosteneffizienten Motorsteuerungslösungen jeder Art weltweit zu unterstützen. Wir feiern 10 Jahre RX-Familie und arbeiten permanent daran, unseren Kunden und Partnern Produktinnovationen für die Entwicklung leistungsstarker Lösungen auf der Basis der RX-MCU-Familie bereitzustellen.«


Lesen Sie mehr zum Thema


Das könnte Sie auch interessieren

Jetzt kostenfreie Newsletter bestellen!

Weitere Artikel zu Renesas Electronics Europe GmbH

Weitere Artikel zu Mikrocontroller