Ganz ohne LDO

Stromversorgung ohne Rauschen und Restwelligkeit

10. Mai 2022, 10:34 Uhr | Steven Schnier, Member Group Technical Staff, Systems Engineer, Buck DC/DC Switching Regulators, Anthony Fagnani, Systems Engineer, Buck DC/DC Switching Regulators, Oliver Nachbaur, R&D Manager, und Kilby Labs Power, alle bei Texas Instruments
Texas Instruments
© Texas Instruments

In vielen rauschempfindlichen Systemen sitzen LDOs, um das für analoge Schaltungen notwendige geringe Rauschen und eine geringe Restwelligkeit zu erreichen. Mit dem steigenden Strombedarf wird es jedoch immer schwieriger, LDOs einzusetzen.

Diesen Artikel anhören

Fortsetzung des Artikels von Teil 2

Das Layout – ebenfalls wichtig

Texas Instruments
Bild 5: Vereinfachtes Layout des TPS543620
© Texas Instruments

Eine zu hohe Ausgangswelligkeit kann auf ein mangelhaftes Layout zurückzuführen sein. Als Abhilfe kommt es zuallererst auf das Minimieren der parasitären Induktivität an, und zwar insbesondere bei jenen geschalteten Schleifen, die in Bild 5 mit Pfeilen gekennzeichnet sind. Dies vermindert ebenfalls die Spannungsbelastung der Leistungs-MOSFETs und dämmt die Störabstrahlungen ein.

Zur Verringerung der layoutbedingten Induktivität sollten für VIN, Masse und VOUT breite Leiterbahnen oder Flächen verwendet und möglichst auf Vias verzichtet werden. Stromversorgungsleitungen, die möglichst rauscharm sein müssen, sollten außerdem nicht in der Nähe von Leiterbahnen mit steilen Spannungsflanken verlaufen.

Abhilfe durch
Halbleiterbauelemente

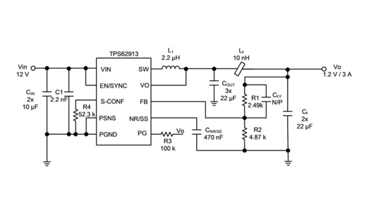
Der durch ein niedriges Welligkeits- und Rauschniveau gekennzeichnete Abwärtswandler TPS62913 nutzt neben den gerade angesprochenen Techniken auch Rauschreduzierungs-Maßnahmen, die bei rauscharmen LDOs zum Einsatz kommen. Bild 6 zeigt diesen Baustein in einer 3,3-V-Stromversorgung.

Texas Instruments
Bild 6: Typische Anwendungsschaltung mit dem TPS62913
© Texas Instruments

Die Schaltfrequenz des TPS62913 von 2,2 MHz in Verbindung mit einem Induktivitätswert von 2,2 µH für den ersten LC-Filter bewirkt eine Reduzierung der di/dt-Welligkeit. Ein hoher Induktivitätswert eignet sich indes vorwiegend für Anwendungen mit relativ statischer Last, da er sich auf das Einschwingverhalten auswirkt.

In den TPS62913 integriert ist auch die notwendige Kompensation für eine Ferritperle, ­sodass ein stabiler Betrieb der Schaltung ­gewährleistet ist und die angesprochenen ­Probleme im Zusammenhang mit Ferritperlen vermieden werden.

Da die Bandabstands-Referenz die weitaus größte Rauschquelle darstellt, zahlt sich das Filtern der Referenzspannung mithilfe eines externen Kondensators durch eine erhebliche Reduzierung des integrierten Rauschens aus. Ähnlich wie viele rauscharme LDOs besitzt auch der TPS62913 einen rauschmindernden Kondensator mit einer Softstart-Funktion. Nach Abschluss des Softstarts dient dieser Kondensator der Rauschreduzierung. Schließlich sind auch der integrierte Fehlerverstärker und der Strommessverstärker für geringes Rauschen optimiert.

Die Verwendung von Feedback-Widerständen mit geringen Widerstandswerten ist eine weitere rauschmindernde Maßnahme, auch wenn dadurch die Verlustleistung geringfügig zunimmt. Der Verzicht auf den LDO spart mehr Verlustleistung ein, als sie durch den höheren Laststrom zunimmt. Überdies macht der Wegfall des LDO, der sich von allen Bauteilen nicht selten am stärksten erwärmt, das Wärmemanagement einfacher. Insgesamt lassen sich also mit dem TPS62913 Stromversorgungen realisieren, die sich auch ohne nachgeschalteten LDO für besonders rauschempfindliche Verbraucher eignen.


  1. Stromversorgung ohne Rauschen und Restwelligkeit
  2. Hinzufügen eines Durchführungskondensators
  3. Das Layout – ebenfalls wichtig


Lesen Sie mehr zum Thema


Das könnte Sie auch interessieren