Pentair Technical Solutions

Modulare Plattform für Test- und Messanwendungen

27. März 2018, 15:45 Uhr | Von Christian Ganninger
Diesen Artikel anhören

Fortsetzung des Artikels von Teil 2

Modularer Aufbau bietet Vorteile

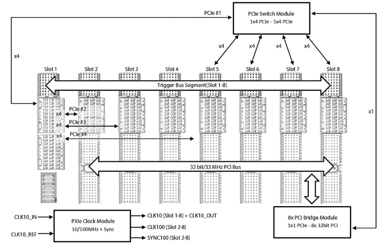
Bild 2. Topologie PXI Express Backplane
Bild 2. Topologie PXI Express Backplane
© Pentair Technical Solutions

Kunden erwarten heutzutage ein hohes Maß an Flexibilität wenn es um das Design und die technischen Eigenschaften ihrer Produkte geht. Für Hersteller von PXI Express-Systemen bedeutet das, dass bei jedem Projekt neue Anpassungen vorgenommen werden müssen, oder sogar die komplette Neuentwicklung des PXI-Systems ansteht. Aufgrund der erhöhten Komplexität, ist die Entwicklung eines PXI Express-Chassis deutlich aufwendiger und führt häufig zu höheren Kosten und Risiken bei Entwicklung, Konstruktion und Serienstart.

Auf der Systemebene verringert man diese Risiken indem man die Funktion des Systems in austauschbaren Funktionsblöcken (Steckkarten) realisiert. Dadurch können komplexe Funktionen in Modulen umgesetzt und in verschiedenen Systemen verwendet werden. Um die Kosten und Risiken bei der Entwicklung des Chassis zu minimieren, hat Pentair dieses modulare System-Konzept erweitert. Die benötigten Funktionen des PXI Express-Chassis, wie Clockgenerierung, Data-Switching und Kühlung, sind ebenfalls als eigenständige und austauschbare Bausteine realisiert.

Die Vorteile dieser Vorgehensweise liegen auf der Hand. Durch den modularen Aufbau des Chassis lassen sich Entwicklungen von neuen bzw. Anpassungen oder Erweiterungen bestehender Systeme deutlich verkürzen. Dadurch verkürzt sich nicht nur die Time-to-Market für das Projekt. Es lassen sich auch die Entwicklungskosten deutlich reduzieren. Einmal entwickelte Funktionsmodule finden Anwendung in vielen unterschiedlichen Projekten und müssen nicht erst aufwendig entwickelt, angepasst und neu qualifiziert werden. Dadurch sinkt auch das Kostenrisiko in der Entwicklung erheblich.

passend zum Thema


  1. Modulare Plattform für Test- und Messanwendungen
  2. PXI-Technologie und ihre Erweiterung
  3. Modularer Aufbau bietet Vorteile
  4. PXI Express-Chassis aus dem Baukasten
  5. Die modulare Backplane
  6. Funktionsmodule für das PXI Express Chassis
  7. Das im Forward Mode betriebene PCI Express-PCI-Bridge-Modul

Lesen Sie mehr zum Thema


Das könnte Sie auch interessieren

Jetzt kostenfreie Newsletter bestellen!

Weitere Artikel zu Pentair Enclosures Europe