Die Netto-Null als Ziel

DigiKey: Nachhaltigkeit im Entwicklungsprozess sicherstellen

7. Oktober 2024, 19:43 Uhr | Von Rolf Horn / ak
Rolf Horn, Applikationsingenieur bei DigiKey
Rolf Horn, DigiKey: »Produktentwickler sind gut beraten, die Netto-Null-Nachhaltigkeit in ihre zukünftigen Produktpläne einzubeziehen.«
© DigiKey

In den nächsten Jahrzehnten wird der Bedarf an nachhaltigen Produkten kontinuierlich wachsen. Ingenieure müssen darauf reagieren, indem sie Nachhaltigkeit als Kriterium in die Entwicklung ihrer Produkte einbeziehen. Ein wichtiger Aspekt ist dabei das Design-In energiesparender Halbleiterbausteine.

Diesen Artikel anhören

Rund um den Globus setzen sich Regierungen, Unternehmen und Menschen für das Ziel »Netto-Null-Emissionen« im Jahr 2050 ein. Produktentwickler sind daher gut beraten, die Netto-Null-Nachhaltigkeit in ihre zukünftigen Produktpläne einzubeziehen, weil sie sonst Gefahr laufen, Aufträge an Konkurrenten zu verlieren, die besser auf den starken Marktdruck reagieren können.

Die National Association of Manufacturers (NAM) berichtete Ende 2022, dass 58 Prozent der befragten Führungskräfte in der Industrie der Meinung sind, dass Nachhaltigkeit für die zukünftige Wettbewerbsfähigkeit von entscheidender Bedeutung ist; dies ist ein deutlich höherer Prozentsatz als bei einer ähnlichen Umfrage im Jahr 2019. Nachhaltigkeit bedeutet für Hersteller und Produzenten, dass sie in der Lage sind, Prozesse und Praktiken über einen längeren Zeitraum hinweg fortzuführen, ohne netto Ressourcen wie Energie, Materialien und Wasser, von denen sie abhängig sind, zu verbrauchen.

Der Begriff »Netto-Null« wurde 2015 unter der Schirmherrschaft der Vereinten Nationen kodifiziert, als 196 Länder das Pariser Abkommen verabschiedeten, einen internationalen, rechtsverbindlichen Vertrag. 2017 legte ein zwischenstaatliches Gremium der Vereinten Nationen das Jahr 2050 als Ziel für die Erreichung von Netto-Null-Emissionen von Kohlendioxid (CO2) und eine tiefgreifende Reduzierung von Nicht-CO2-Emissionen fest. Obwohl es kein universelles Durchsetzungsmandat gibt, wird das Netto-Null-Ziel zunehmend von Regierungen und Unternehmen übernommen:

• 30 Länder, darunter auch die USA, haben sich verpflichtet, bis 2050 ein Netto-Null-Ziel für ihre Regierungsgeschäfte zu erreichen und die Emissionen bis 2030 um 65 Prozent zu senken.

• Die Hälfte der weltweit 2000 börsennotierten Unternehmen hat sich Netto-Null-Ziele gesetzt, was 66 Prozent des Jahresumsatzes dieser Top-2000-Kategorie entspricht.

• 45 Prozent der von der NAM befragten Unternehmen geben an, dass sie sich formelle Netto-Null-Ziele gesetzt haben, und 30 Prozent planen, diese bis 2030 zu erreichen.

Kommerzielle Auswirkungen von Netto-Null

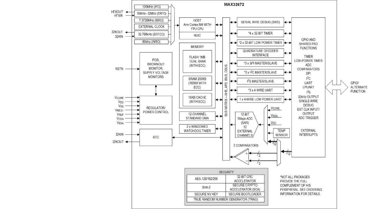
Abbildung 1: Vereinfachtes Blockdiagramm des Mikrocontrollers MAX32672.
Abbildung 1: Vereinfachtes Blockdiagramm des Mikrocontrollers MAX32672.
© Analog Devices

Die wirtschaftlichen Auswirkungen der Netto-Null-Nachhaltigkeit sind enorm. Die US-Verteidigungsbehörden gaben im Jahr 2022 schätzungsweise 210 Mrd. US-Dollar für Produkte aus, während zivile Behörden 49 Mrd. US-Dollar ausgaben. Die Europäische Kommission geht in ihrem Vorschlag für ein Ecosystem zur Herstellung von Netto-Null-Technologien davon aus, dass sich der Weltmarkt für in Massenproduktion hergestellte Netto-Null-Technologien bis 2030 auf 600 Mrd. Euro jährlich belaufen wird.

Von Herstellern wird erwartet, dass sie unter anderem Produkte für Elektrofahrzeuge und Infrastruktur, modernisierte Stromnetze, Gebäudesteuerungen und Wärmepumpen produzieren. Darüber hinaus werden die Investitionen in die Kohlenstoffabscheidungs-Technologie den Bedarf an neuen Produktdesigns und Lösungen zur Nachrüstung bestehender Produktionsanlagen erhöhen.

Die Umstellung auf Netto-Null wird eine massive Umschichtung von Kapital erfordern, die sich bis 2050 auf Hunderte von Billionen US-Dollar und Äquivalente belaufen dürfte. Dies erfordert einen massiven Wandel in der Art und Weise, wie die Unternehmen des verarbeitenden Gewerbes arbeiten, von der Energieversorgung ihrer Anlagen und Werkzeuge bis hin zur Verwendung leichterer und stärkerer Materialien.

Ganze Lieferketten in der Fertigung werden davon betroffen sein. Hersteller, die ihre Fortschritte auf dem Weg zum Netto-Null-Standard messen, müssen ihren gesamten Kohlenstoff-Footprint berechnen, einschließlich der Netto-Null-Fortschritte ihrer Zulieferer. Unternehmen, die von Geschäftsmöglichkeiten profitieren wollen, die der Netto-Null zuwiderlaufen, müssen nachweisen, dass sie Netto-Null-Ziele anstreben.

Die Unternehmen müssen die CO2-Auswirkungen des gesamten Produktlebenszyklus berechnen, von der Materialbeschaffung bis hin zum Ende der Produktlebensdauer. Entwicklungsteams müssen sich neue Fähigkeiten aneignen, bestehende Prozesse anpassen oder ersetzen und Abläufe umgestalten, um Nachhaltigkeit zu einem zentralen Designkonzept zu machen. Zu den wichtigsten bewährten Praktiken gehören:

• Einführung von Praktiken der Kreislaufwirtschaft, die den Materialverbrauch reduzieren und Abfallprodukte für die Herstellung neuer Materialien und Produkte wiederverwenden.

• Optimierung der Prozesse zur Dekarbonisierung der Produktentwicklung, einschließlich der Minimierung des Material- und Ressourcenverbrauchs bei der Herstellung von Produkten.

• Innovation bei neuen Designkonzepten und Investitionen in neue Werkzeuge und Technologien, um energieeffizientere Produkte und Prozesse zu erreichen.

• Förderung einer Netto-Null-Mentalität durch Konzentration auf Fragen des Veränderungsmanagements, einschließlich der Förderung von Nachhaltigkeits-Champions im Unternehmen, der Bewältigung von Ängsten und Widerständen der Mitarbeiter sowie der Umschulung und Einführung neuer Fähigkeiten, die zur Erreichung der Netto-Null-Ziele erforderlich sind.

• Erweiterung des Nutzens mechanischer Systeme durch digitalisierte Dienste, die je nach Bedarf neue Merkmale und Funktionen liefern.

Nutzung der Fortschritte der Anbieter

Abbildung 2: Das Evaluierungsboard EVAL-ADM3066EEBZ von ADI bietet eine Basis für den Halbduplex-RS-485-Transceiver ADM3066EBRMZ in einem zehnpoligen MSOP-Gehäuse.
Abbildung 2: Das Evaluierungsboard EVAL-ADM3066EEBZ von ADI bietet eine Basis für den Halbduplex-RS-485-Transceiver ADM3066EBRMZ in einem zehnpoligen MSOP-Gehäuse.
© Analog Devices

Analog Devices (ADI), ein Halbleiterunternehmen mit einem Umsatz von 12 Milliarden US-Dollar im Geschäftsjahr 2023, kombiniert analoge, digitale und Softwaretechnologien, um eine Brücke zwischen der physischen und der digitalen Welt zu schlagen. Die Produkte des Unternehmens tragen dazu bei, den Fortschritt in den Bereichen digitalisierte Fabriken, Gebäudeautomatisierung, Mobilität und digitale Gesundheitsversorgung voranzutreiben. Das Unternehmen hat sich verpflichtet, bis 2050 oder früher einen Netto-Null-Wert zu erreichen, die Scope-1- und -2-Kohlenstoffemissionen bis 2030 um 50 Prozent zu senken und bis 2030 100 Prozent der Abfälle aus den ADI-Produktionsstätten umzuleiten.

ADI hat sich zum Ziel gesetzt, den Energieverbrauch zu senken, die Lebensdauer von Anlagen zu verlängern und den Rohstoffverbrauch zu reduzieren, und zwar durch energieeffiziente Motorsteuerung, präzise Überwachung des Zustands von Low-Power-Assets sowie adaptive intelligente Sensorik, Aktorik und Steuerung.

Mit einem umfangreichen Portfolio bietet ADI eine breite Palette von Komponenten zur Verbesserung der Energieeffizienz in der industriellen Automatisierung und in intelligenten Gebäuden:

Drehzahlvariable Antriebe: Schätzungen zufolge sind Elektromotoren für etwa 65 Prozent des industriellen Stromverbrauchs verantwortlich. In der Vergangenheit arbeiteten die meisten dieser Motoren mit fester Drehzahl, und die Ausrüstung mit drehzahlvariablen Antrieben könnte den weltweiten Energieverbrauch um bis zu 10 Prozent senken. Die Lösungen von ADI für drehzahlvariable Antriebe umfassen leistungsstarke Strom- und Spannungsmessung, robuste Isolierung, Energiemanagement mit hoher Dichte und nahtlose Vernetzung.

Strommessverstärker für hohe Spannungen und mit hoher Bandbreite, wie der AD8410A und der AD8411A, führen bidirektionale Strommessungen über einen Shunt-Widerstand durch, um Feedback zu liefern, das die Antriebsleistung verbessern sowie die Bandbreite und Reaktionszeit von Motoren bestimmen kann, um sicherzustellen, dass der Motor mit höchster Effizienz arbeitet. Wirkungsvolles Energiemanagement in kleineren Gehäusen ist ein wichtiger Aspekt bei der Konstruktion. ADI bietet integrierte Flyback-Schaltregler wie den MAX17692 an, die die isolierte Ausgangsspannung direkt von der primärseitigen Flyback-Waveform ablesen, während der Gleichrichter auf der Sekundärseite arbeitet. Weil kein sekundärseitiger Fehlerverstärker und Optokoppler erforderlich ist, lassen sich im Vergleich zu einem herkömmlichen Sperrwandler bis zu 20 Prozent Platz auf der Leiterplatte einsparen.

Positionsgeber: Hocheffiziente Servomotoren mit präziser Positions- und Drehmomentsteuerung können den Energieverbrauch optimieren, indem sie eine schnellere Bearbeitung komplexer Komponenten ermöglichen. Die Signalaufbereitungs- und -umwandlungstechnologie von ADI misst kleine Signale in verrauschten industriellen Umgebungen präzise. Die Angebote von ADI helfen bei der Entwicklung leistungsstarker Positionsgeber, die eine fortschrittliche Regelkreisleistung, einen hohen Wirkungsgrad und eine hochintegrierte Energiemanagement-Technologie bieten, mit der sich der Energieverbrauch im Bearbeitungsprozess senken und der Fabrikdurchsatz steigern lässt.

ADI-Technologien können dazu beitragen, die Markteinführung leistungsstarker Positionsgeber zu beschleunigen. Das Unternehmen bietet Encoder-Signalkettenlösungen für Sensortypen wie optische, magnetische, Resolver und lineare variable Differenzwandler. Der ADP320 mit drei Ausgängen und niedrigem Spannungseinbruch (LDO) zeichnet sich durch einen geringen Ruhestrom, eine niedrige Dropout-Spannung und einen weiten Eingangsspannungsbereich aus, um alle Komponenten in optischen und magnetischen Encoder-Signalketten zu versorgen.

Ein vereinfachtes Blockdiagramm des MAX32672 von ADI ist in Abbildung 1 dargestellt. Es handelt sich um einen winzigen, hochintegrierten und zuverlässigen 32-Bit-Mikrocontroller mit extrem niedrigem Stromverbrauch, der Designs mit komplexer Sensorverarbeitung ermöglicht, ohne die Batterielebensdauer zu beeinträchtigen, und der einen einfachen, kostenoptimalen Migrationspfad von 8- oder 16-Bit-Mikrocontrollern älterer Designs bietet. Entwicklungsteams, die Motoren mit Encodern ausstatten, um fortschrittliche Fertigungsmöglichkeiten zu unterstützen, werden von den reduzierten Encoder-Formfaktoren profitieren.

Integriertes Energiemanagement: ADI bietet hochintegrierte Micropower-Managementlösungen in kompakten ICs an, darunter rauscharme Regler wie den LT3029 für Anwendungen wie Allzweck-Linearregler, batteriebetriebene Systeme und Kern/Logik-Versorgungen von Mikroprozessoren sowie den LT3024, der sich für Mobiltelefone, drahtlose Modems und Frequenzsynthesizer eignet.

Zuverlässige Vernetzung: ADI liefert Halb- und Vollduplex-RS-485-Transceiver für eine zuverlässige Datenübertragung mit hohen Datenraten. Der ADM3066E und der ADM3067E bieten bidirektionale Highspeed-Datenkommunikation mit 50 Mbit/s auf Multipoint-Bus-Übertragungsleitungen und verfügen über eine Eingangsimpedanz von 1/4 Lasteinheiten, die bis zu 128 Transceiver an einem Bus ermöglicht. Es können verschiedene Evaluierungsboards, wie das EVAL-ADM3066EEBZ (Abbildung 2), genutzt werden, um die Fähigkeiten der Transceiver zu bewerten und zu demonstrieren.

Gebäudesteuerungen: Um neue und bestehende Gebäude nachhaltiger zu gestalten, sind Mess-, Vernetzungs- und Verarbeitungstechnologien erforderlich, um HLK- und Beleuchtungsanlagen zu steuern, die Belegung zu erkennen und die Umgebungsbedingungen zu überwachen. Dies wird die Nachfrage nach intelligenten Edge-Geräten für die Digitalisierung von Gebäudesystemen steigern.

Gebäudeautomationssysteme umfassen meist mehrere Steuerungen und unterschiedliche Knotenpunkte, die alle eine zuverlässige Verbindung benötigen. Der ADIN1110 ist ein stromsparender Single-Port-Transceiver mit integrierter MAC-Schnittstelle (Media Access Control), der einen geringeren Gesamtstromverbrauch auf Systemebene erfordert und über eine integrierte Spannungsversorgungsüberwachung und einen Power-On-Reset-Schaltkreis verfügt, um die Robustheit auf Systemebene zu verbessern.

Intelligente Gebäude benötigen ein effizientes Energiemanagement an der Edge des Netzwerks. Der LTC4296-1 von ADI ermöglicht die Stromversorgung von 10Base-T1L-Controllern und -Switches mit Single-Pair-Power-over-Ethernet (SPoE) und die Übertragung von bis zu 52 W Leistung plus Daten über ein einziges Twisted-Pair-Ethernet-Kabel. Der LTC9111 ist ein IEEE-802.3cg-kompatibler SPoE-Power-Device-Controller, der sich besonders für klassifizierungsbasierte Systeme in der Gebäudeautomation und Fabrikautomatisierung eignet.

Fazit

Die wachsende Nachfrage nach einer Netto-Null-Nachhaltigkeit bis 2050 stellt eine enorme Chance für Produkte dar, die Innovationen in der Fertigung, Umrüstungen und neue Technologien unterstützen. Auch wenn das Jahr 2050 noch in weiter Ferne zu liegen scheint, zeigen die in diesem Beitrag zitierten Daten, dass der Druck von Regierungen, Unternehmen und der Gesellschaft viele Unternehmen bereits dazu veranlasst, die Ziele für 2050 (Netto-Null) und 2030 (klimaneutral) in ihre aktuellen Strategien einzubauen. Jeder Anbieter wird letztlich wohl Fortschritte bei der Erreichung dieser Ziele nachweisen müssen. Produktdesigner, die diese Ziele proaktiv in ihre Planung, ihre Prozesse und ihre Komponentenlieferungen einbeziehen, werden von einer der größten industriellen Umwälzungen aller Zeiten profitieren.

DigiKey auf der SPS 2024: Halle 10.0, Stand 430

Der Autor:
Rolf Horn ist Applikationsingenieur bei DigiKey.


Lesen Sie mehr zum Thema