Hohe Anforderungen trotz einfacher Kabel

USB4 testen

26. Oktober 2020, 14:15 Uhr | Nicole Wörner
Bild: USB Implementers Forum
© Bild: USB Implementers Forum

Dank universeller Standards wie USB, DP und Thunderbold ist der USB-Typ-C-Stecker heute überall zu finden. Mit USB4 geht nun die nächste Generation der USB-Technologie an den Start. Um USB4 zuverlässig testen zu können, gilt es einige wichtige Faktoren zu berücksichtigen.

Diesen Artikel anhören

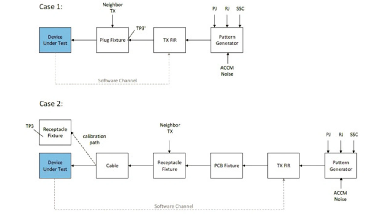
Fortsetzung des Artikels von Teil 2

Prüfung der Konformität von Rückflussdämpfern

Bild: USB Implementers Forum
Bild 5: Testfälle für Kurzkanal- und Langkanal-Empfänger
© Bild: USB Implementers Forum

Eine neue Anforderung, die in der USB3.2-Konformitätstest-Spezifikation nicht existierte, ist der Rückflussdämpfungstest. Wenn die Impedanzen nicht richtig angepasst sind, wird das Signal vom TX-Silizium niemals den Typ-C-Stecker erreichen; ebenso wenig gelangt das RX-Signal, das in den Typ-C-Stecker geht, zum RX-Silizium. Der Rückflussdämpfungstest sollte immer vor dem TX- oder RX-Test durchgeführt werden, denn wenn er fehlschlägt, hat es keinen Sinn, mit den TX- und RX-Tests fortzufahren (Bild 4). Keysights Rückflussdämpfungstest-Software E5080B ermöglicht es, Status- und Limit-Dateien abzurufen, die einen einfachen Ein-Knopf-Test dieser Schlüsselparameter ermöglichen.

Bild: USB Implementers Forum
Bild 6: Protokoll-Dekodierung der USB4-Signalisierung
© Bild: USB Implementers Forum

Die Charakterisierung der Sendeverzerrung (Tx Eq, Transmitter Equalizer) war schon immer notwendig, jedoch gab es in der USB-3.2-Spezifikation nur einen Pre-Shoot bei 2,2 dB und eine De-Emphasis bei –3,1 dB. Für USB4 gibt es nun 16 Voreinstellungen mit verschiedenen Kombinationen von Pre-Shoot und De-Emphasis.
Zusätzlich zum Testen der einzelnen Voreinstellungen erfordert USB4, dass die Sendeverzerrung für die optimale Augenöffnung optimiert wird. Häufig kommt es vor, dass man die Optimierung des TX-Eq übersieht oder ihn im TX-Silizium falsch einstellt. In diesem Fall wird bei 20 Gbit/s die Signalintegrität versagen, da es nur ein oder zwei TX-Eq-Einstellungen gibt, die für bestimmte spezifische Verlustkanal-Implementierung funktionieren (Tabelle 4). Die Kalibrierung und Automatisierung des Tx Eq laufen bei den Testlösungen von Keysight automatisch.

Quelle: USB Implementers Forum
Tabelle 3: Spezifikationen des Kurzkanal-Transmitters
© Quelle: USB Implementers Forum

  1. USB4 testen
  2. Budget für die Einfügedämpfung
  3. Prüfung der Konformität von Rückflussdämpfern
  4. Transmitter-Spezifikationen bei TP3


Lesen Sie mehr zum Thema


Das könnte Sie auch interessieren

Die HDO6000B-Serie ist Teledyne LeCroys neueste Implementierung der HD4096-Technologie

Teledyne LeCroy

Neue Generation an High-Definition-Oszilloskopen

Für 227 Euro erhalten Anwender des neuen Zweikanal-Oszilloskops DS1102Z-E von Rigol einen Allrounder für vielfältige Aufgaben.

Rigol

Oszilloskop für die Einstiegsklasse

Boris Adlung, Rigol, beantwortet im Gespräch mit Markt&Technik-Redakteurin Nicole Wörner die Fragen der Leser.

Video: Leser fragen – Experten antworten

Blick hinter die Fassaden der Oszilloskope

Die Marktübersichten

Große Marktübersichten

Multimeter und Kommunikationsmesstechnik im Fokus

Die großen Marktübersichten

Detaillierter Branchenüberblick

Marktübersichten „Oszilloskope“ und „PC-Messtechnik“

Leser fragen - Experten antworten: Oszilloskop-Technik

Leser fragen - Experten antworten

Jetzt Fragen zu Oszilloskopen einreichen!

Das DLM5000 von Yokogawa erfasst die Unterbrechungen, die nicht mit den Akzeptanzkriterien übereinstimmen und bietet Möglichkeiten für die weiterführende Analyse der Daten.

Oszilloskope in der Elektromechanik

Steckverbinder-Kontaktunterbrechungen untersuchen

Die neuen Oszilloskop-Module von Rigol können sowohl als Laborgerät als auch integriert in ein Rack-System verwendet werden.

Rigol stellt neue Oszilloskop-Module vor

Bis zu 512 Kanäle kompakt verpackt

Perfekt für den Feldeinsatz: Der neue VNA von Rohde & Schwarz wiegt nur 3 kg und bietet eine lange Akkulaufzeit und große Tasten für die Bedienung mit Handschuhen.

Vektornetzwerkanalysator Rohde & Schwarz

Handheld-VNA bis 26,5 GHz

Auf GaN zugeschnittene Testplatine für eHEMT

GaN-Leistungshalbleiter charakterisieren

Herausforderung GaN-FET-Test

Die neuen Scopes der Infiniium-EXR-Serie von Keysight ermöglichen es, mit Signalen höherer Bandbreite über mehr analoge und digitale Kanäle simultan zu arbeiten.

Neue 8-Kanal-Oszilloskope von Keysight

In allen Belangen aufrüstbar

Andreas Pauly, Rohde & Schwarz

Messtechnik bleibt Innovationstreiber

Das sind die Megatrends der Messtechnik

Bild 1: Das Bode-Diagramm des Verstärker-Ausgangssignals zeigt im Leerlauf, d.h. ohne Last, maximale Verstärkung.

Oszilloskop-Technik

Wie gut passt die Komponente zum System?

Per Plug&Play mit dem PC verbinden und los geht's mit den neuen Oszilloskopen von TiePie (Vertrieb: Plug-in)

Plug In

WiFi-Oszilloskope mit differentiellen Eingängen

Firmenzentrale von Rohde & Schwarz, München

Erfolgreiches Geschäftsjahr 2019/2020

20 % Umsatzplus für Rohde & Schwarz

Keysight Dhanasekaran

Keysight Technologies

Zwei Wechsel in der Führungsriege

Keysight Dhanasekaran

Keysight-Personalia

CTO verabschiedet sich in den Ruhestand, neuer COO kommt

Adobe Schmuckbild Handshake

Europaweites Vertriebsabkommen

Batronix wird Keysight-Distributor

Für Messungen zur Batterielebenszeit an einem IoT-Funkmodul kann der Anwender bis zu zwei vierkanalige Leistungsmessköpfe R&S RT-ZVC04 an ein Multidomain-Oszilloskop von Rohde & Schwarz anschließen und parallel bis zu acht Strom- oder Spannungsmessun

Für eine optimierte Batterielebensdauer

Strommessungen mit neunstelligem Dynamikbereich

Über ein zusätzliches Kabel lassen sich Takt- und Trigger von zwei DLM5000 synchronisieren, um die Anzahl an Messkanälen auf maximal 16 zu erhöhen. Es können auch 4-Kanal- mit 8-Kanal-Geräten zusammengeschaltet werden.

Neue Oszilloskop-Plattformen

»Der Bedarf an Mehrkanalmessungen wächst«

MSO 6B mit 8 Kanälen.

Tektronix erweitert Oszilloskop-Familie

Mehr Bandbreite, weniger Rauschen