Energy Harvesting

Mini-Gleichspannungswandler für Solarzellen

12. Januar 2021, 14:56 Uhr | Newsdesk elektroniknet, Harry Schubert
Fitnessuhr mit Solarzelle im Display.
Mit dem MAX20361 lassen sich Solarzellen auch in sehr kleinen Geräten wie Wearables als Energiequelle nutzen.
© Maxim Integrated Products

Für die Energieversorgung von Wearables und IoT-Anwendungen mit Solarzellen hat Maxim mit dem MAX20361 einen nur 1,63 × 1,23 mm2 kleinen Baustein entwickelt. Er bietet Leistungsregelung (MPPT), kann direkt eine Li-Ionen-Akkuzelle laden und benötigt nur wenig externe Bauteile.

Diesen Artikel anhören

Mit dem für Energy Harvesting per Solarzelle entwickelten Stromversorgungs-IC MAX20361 ist es nach Aussage von Maxim Integrated Products möglich, die Schaltungsgröße um mindestens 50 % gegenüber bisherigen Schaltungen zu verringern und gleichzeitig den Energieertrag zu erhöhen. Der IC wurde für Applikationen mit begrenztem Platzangebot, wie z.B. Wearables entwickelt. Mit dem MAX20361 lässt sich ein Li-Ionen-Akku durch Solarenergie in sehr platzbeschränkten Produkten aufladen, um die Laufzeit dieser Geräte zu verlängern.

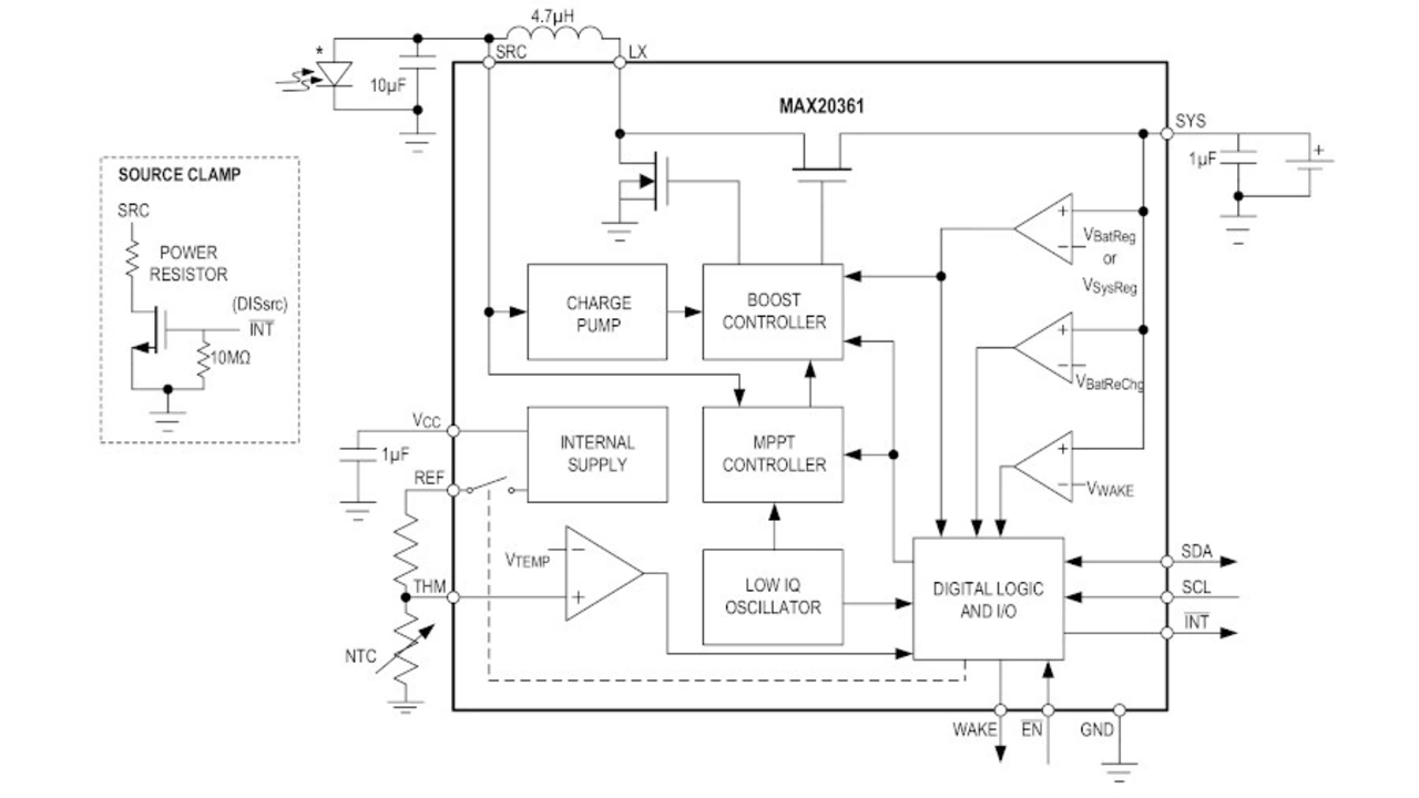
Sachaltung des MAX20361 von Maxim.
In einem Wafer Level Package mit 1,63 × 1,23 mm² und zwölf Anschlüssen ist Platz für den Aufwärtswandler mit Synchrongleichrichter und Ladungspumpe, den MPPT-Regler, den Laderegler, die interne Stromversorgung und ein I2C-Interface.
© Maxim Integrated Products

Der MAX20361 kann mit einer oder mehreren in Reihe geschalteten Solarzellen betrieben werden. An seinem Eingang kann er Spannungen von 225 mV bis 2,5 V verarbeiten um eine Ausgangsspannung im Bereich von 4 V bis 4,7 V zu erzeugen. Die exakte höhe der Ausgangsspannung wird per I2C-Bus programmiert, im 50 mV Stufen. Verarbeiten kann der MAX20361 Eingangsleistungen von 15 uW bis 300 mW. Bei einem Eingangsstrom von 30 mA und 0,75 V Eingangsspannung nennt Maxim für den integrierten Aufwärtswandler 86 % als maximalen Wirkungsgrad für eine Ausgangsspannung von 3,8 V. Für die Leistungsregelung (MPPT – Maximum Power Point Tracking) misst der MAX20361 die Leerlaufspannung. Zum Schutz vor zu hohen Eingangsspannungen kann der MAX20361 einen externen MOSFET ansteuern, der die Quelle am Eingang mit einem Widerstand belastet.

Der im MAX20361 integrierte Laderegler für Li-Ionen-Akkuzellen verfügt über die nötigen Schutzschaltungen. Er kann aber auch mit Superkondensatoren, Dünnschicht-Akkus oder konventionellen Kondensatoren umgehen.


Lesen Sie mehr zum Thema


Das könnte Sie auch interessieren