Füllstands-IC

Ladezustand von Akkupacks bis 20 V bestimmen

30. Oktober 2013, 10:30 Uhr | Mathias Bloch
Der LTC2943 erfasst alle relevanten Parameter eines Akkupacks.
© Linear Technology

Mit dem LTC2943 stellt Linear Technology ein neues IC zur Bestimmung des Ladezustands von Akkupacks vor. Die Messung erfolgt dabei direkt, also ohne vorgeschalteten Pegelwandler, für einen Spannungsbereich von 3,6 V bis 20 V.

Diesen Artikel anhören

Der LTC2943 misst die Spannung, den Strom und die Temperatur, also alle Parameter die für die Bestimmung des Ladezustands relevant sind. Die Genauigkeit gibt Linear Technology mit 1 Prozent an.

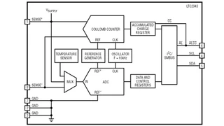
Für die Bestimmung des Ladezustands verwendet das IC das »Coulomb Counting«. Der Lade- bzw. Entladestrom wird über den Spannungsabfall an einem vorgeschalteten High-Side-Widerstand ermittelt. Über einen bidirektionalen Integrator wird dann die Ladung der Akkus bestimmt.

Anbieter zum Thema

zu Matchmaker+

Überblick LTC2943

Der LTC2943 erfasst alle relevanten Parameter eines Akkupacks.
© Linear Technology
Beispiel für eine Beschaltung des LTC2943.
© Linear Technology
Blockschaltbild des LTC2943.
© Linear Technology

Alle Bilder anzeigen (3)

Die Werte für Spannung, Strom und Temperatur werden über einen 14-bit-A/D-Wandler gemessen, wobei die Spannung mit einer Genauigkeit von ± 50 mV erfasst wird. Die Datenübertragung und die Programmierung des ICs erfolgen über eine I²C-Schnittstelle. Darüber hinaus lassen sich zum Beispiel die Spannungsober- und Untergrenzen festlegen. Der LTC2943 eignet sich für alle Kapazitäten oder Zellchemien. Im Ruhemodus liegt die Stromaufnahme bei unter 120 µA.

Den LTC2943 gibt es in einem 3 mm x 3 mm großen 8-Pin-Gehäuse für den Temperaturbereich von 0° C bis 70 °C oder von – 40 °C bis 85 °C. Bei einer Abnahme von 1.000 Stück kostet das IC 2,35 Dollar.


Lesen Sie mehr zum Thema


Das könnte Sie auch interessieren

Jetzt kostenfreie Newsletter bestellen!