HF-Transceiver

Optimierte Stromversorgung für 6-GHz-Transceiver

23. August 2021, 06:00 Uhr | Pablo Perez und John Martin Dela Cruz, Harry Schubert
©

Lässt sich das Rauschverhalten eines HF-ICs quantifizieren, so kann seine Stromversorgung optimiert werden. Am Beispiel eines HF-Transceiver-ICs wird gezeigt, wie Rauschen in eine Stromversorgung gezielt eingespeist wird, um zu ermitteln, wieviel Rauschen auf der Versorgungsspannung tolerierbar ist.

Diesen Artikel anhören

Fortsetzung des Artikels von Teil 1

HF-optimierte Stromversorgung

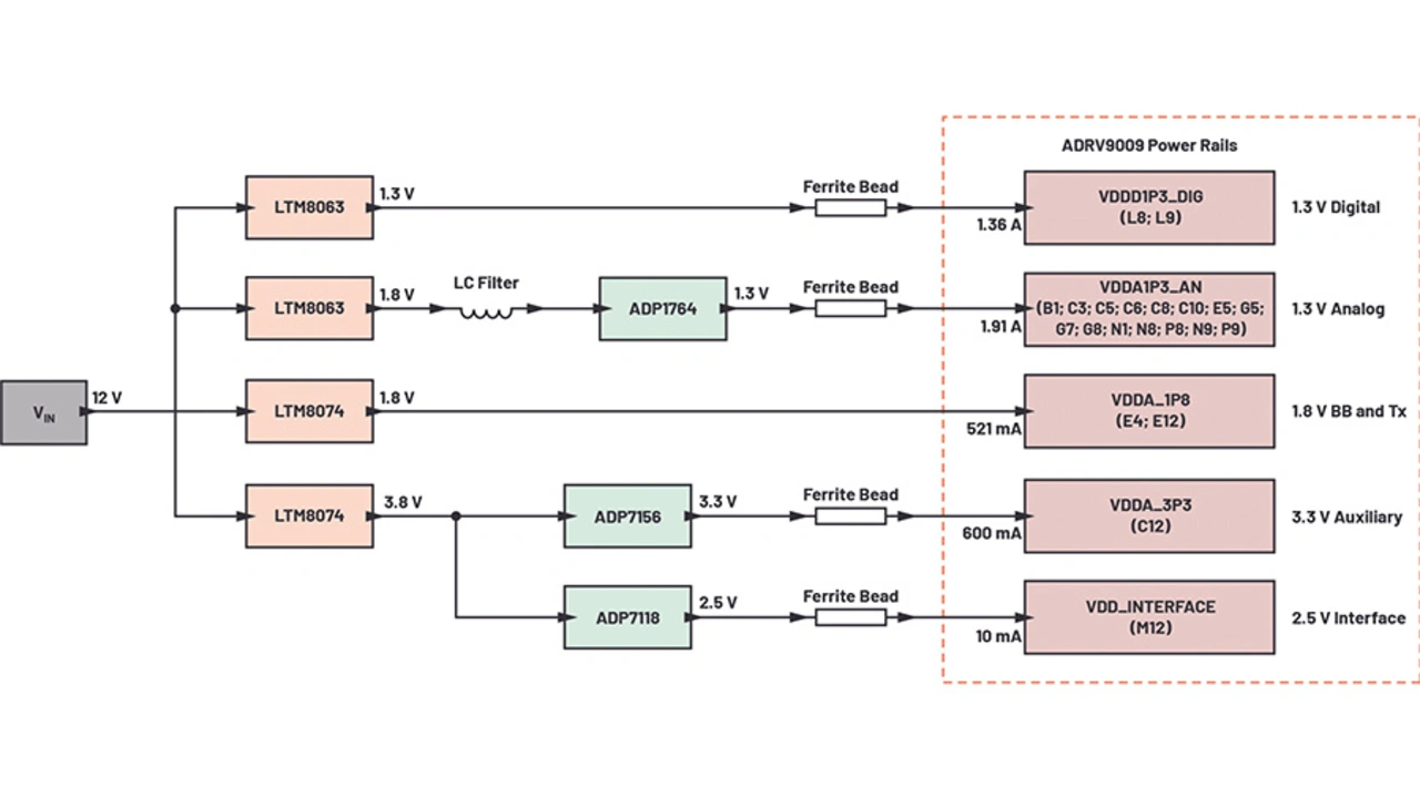
Basierend auf den Ergebnissen der durchgeführten Tests wurde eine optimierte Stromversorgung für den Transceiver-IC ADRV9009 entworfen (Bild 7), die einen Spielraum von >6 dB schafft, wenn sie auf einem ADRV9009-Transceiver-Modul eingesetzt wird.

optimierte Stromversorgung für einen ADRV9009-Transceiver von Analog Devices
Bild 7. Eine optimierte Stromversorgung für einen ADRV9009-Transceiver mit vier einzelnen Abwärtswandlern (µModule-Reihe LTM8063 und LTM8074) zusätzlichem Tiefpass und nur drei statt vier LDOs (siehe Bild 1 zum Vergleich).
© Analog Devices

Tabelle 1 vergleicht die optimierte Stromversorgung (Bild 7) mit der Standard-Stromversorgung (Bild 1). Das Verringern der benötigten Komponenten beträgt dabei 29,8 % und der Wirkungsgrad steigt von 66,9 % auf 69,9 %, was einer Senkung des gesamten Leistungsbedarfs um 0,5 W entspricht.

Um den Wirkungsgrad der optimierten Stromversorgung zu validieren – bezüglich des systematischen Rauschverhaltens – wurde eine Phasenrauschmessung durchgeführt.

 Standard-Stromversorgung (Bild 1)

Optimierte Stromversorgung (Bild 7)

Verbesserung
Komponenten-fläche148,2 mm2104,00 mm2–29,8 %
Gesamtwirkungs-grad65,7 %69,9 %+6,4 %
Verlustleistung

3,8 W

3,2 W–0,6 W

Die optimierte Stromversorgung in Bild 7 wurde mit der Referenz – einer Entwickler-Version des ADRV9009-Evaluierungsmoduls, nämlich des Evaluierungsmoduls AD9378 mit einer Stromversorgung wie in Bild 1 dargestellt – verglichen. Die gleiche Baugruppe wurde benutzt, aber mit der optimierten Stromversorgung aus Bild 7, wobei die Ergebnisse des Phasenrauschens miteinander verglichen wurden. Idealerweise erfüllt die optimierte Stromversorgung die Referenz-Diagramme im Datenblatt oder übertrifft sie sogar.

Vergleich des Phasenrauchens der Stromversorgung
Bild 8. Vergleich des Phasenrauchens der Stromversorgung, gemessen mit dem Evaluierungsmoduls AD9378, zwischen der Standard-Stromversorgung mit dem Vierfach-Schaltregler-IC ADP5054 (Bild 1) und der optimierten Stromversorgung mit den µModule-Abwärtswandlern LTM8083 und LTM8074 (Bild 7), bei einer LO = 1900 MHz, PLL-Bandbreite = 425 kHz und einer Stabilität = 8.
© Analog Devices

Bild 8 zeigt die Ergebnisse der Vergleichsmessung mit dem AD9378-Evaluierungsmodul, einmal mit der auf dem ADP5054 basierenden Standard-Stromversorgung, verglichen mit den Ergebnissen der gleichen Baugruppe mit einer optimierten Stromversorgung (Bild 7) auf Basis der Gleichspannungswandler LTM8063 und LTM8074. Die Stromversorgung mit den einzelnen µModule-Abwärtswandlern hat im Vergleich zur ADP5054-basierten Stromversorgung eine geringfügig bessere Leistung von rund 2 dB.

Offset-Frequenz [MHz]Phasenrauschen [dBc/Hz]
 Schwellenwert (Datenblatt)Messergebnisse
ADP5054 (Bild 1)LTM8063 und LTM8074 (Bild 7)
0,1–100–137,74–137,77
0,2–115–143,16–143,32
0,4–120–147,37–147,20
0,6–129–149,02–149,04
0,8–132–151,81–151,96
1,2–135–151,73–151,22
1,8–140–153,97–153,76
6–150–155,10–154,80
10–153–154,51–154,36

Wie aus Bild 8 und Tabelle 2 zu erkennen, sind die Messergebnisse für beide Stromversorgungen wegen des Einsatzes eines Signalgenerators für den externen Lokal-Oszillator mit geringem Phasenrauschen geringfügig schlechter als im Datenblatt angegeben.

LO-Frequenz [MHz]SFDR [dBc]
 

Datenblatt-Spezifikation

Sender 1Sender 2
ADP5054LTM8063 und LTM8074ADP5054LTM8063 und LTM8074
8007086,0386,9586,6286,63
1.8007085,9487,3086,0185,90
2.6007085,9886,0185,5085,78
3.8007073,8777,4273,9377,31
4.8007071,4471,9871,1071,82
Trägersignal und wegen der Schaltfrequenz der Stromversorgung verursachte Fehler.
Bild 9. Trägersignal und wegen der Schaltfrequenz der Stromversorgung verursachte Fehler. Die Messung erfolgten bei LO = 3.800 MHz, Fbb= 7 MHz, –10 dBm.
© Analog Devices

Die SFDR-Messung (Spurious Free Dynamic Range) am Transceiver-IC ADRV9009 ist in Tabelle 3 für beide Stromversorgungsalternativen aufgelistet. Die Tabelle 3 zeigt für beide eine vergleichbare Leistungsfähigkeit, außer für LO = 3800 MHz, wo die Schaltwelligkeit des ADP5054 (Bild 1) beginnt, Modulationsverzerrungen auf dem Ausgangsspektrum des Trägersignals zu erzeugen (Bild 9).

Literatur

[1] Delos, P.: Power Supply Modulation Ratio Demystified: How Does PSMR Differ from PSRR? Analog Devices, Dezember 2018, www.analog.com/en/technical-articles/power-supply-modulation-ratio-demystified.html.

[2] Delos, P.: Transceiver Phase Noise Teardown Informs Performance Capability with an External LO. Analog Devices, Oktober 2019, www.analog.com/en/technical-articles/transceiver-phase-noise-teardown-informs-performance-capability.html.

[3] Naeem, N. und Fontaine, S.: Characterizing the PSRR of Data Acquisition μModule Devices with Internal Bypass Capacitors. Analog Dialogue, 2020, Nr. 3, www.analog.com/en/analog-dialogue/articles/characterizing-the-psrr-of-data-acquisition-umodule-devices-with-internal-bypass-capacitors.html.

[4] Perez, P. und Pasaquian, P. E.: Optimizing Power Systems for the Signal Chain – Part 1: How Much Power Supply Noise Is Tolerable? Analog Dialogue, 2021, Nr. 1, www.analog.com/en/analog-dialogue/articles/optimizing-power-systems-for-the-signal-chain-part-1.html.

[5] Cruz, J. M. D. und Pasaquian, P. E.: Optimizing Power Systems for the Signal Chain – Part 2: High Speed Data Converters. Analog Dialogue, 2021, Nr. 2, www.analog.com/en/analog-dialogue/articles/optimizing-power-systems-for-the-signal-chain-part-2.html.

Die Autoren

Pablo Perez, jr., Analog Devices
Pablo Perez, jr. von Analog Devices
© Analog Devices

Pablo Perez, jr.

kam im Mai 2019 als ADEF Senior Applications Engineer zu Analog Devices. Sein Arbeitsgebiet umfasst die Modifizierung und Evaluierung von Standard-Schaltnetzteilen für unterschiedliche Anwendungen (Industrie, Telekommunikation, Medizintechnik, Militär) und die Verifikation und Musterbewertung von Linearreglern, Schaltreglern sowie Stromversorgungs-ICs. Perez erwarb einen Bachelor-Abschluss in Elektronik und Kommunikationstechnik an der Manuel S. Enverga University Foundation in Lucena, Philippinen.

pablo.perezjr@analog.com

John Martin Dela Cruz, Analog Devices
John Martin Dela Cruz von Analog Devices
© Analog Devices

John Martin Dela Cruz

kam im Oktober 2020 als Power Applications Engineer zu Analog Devices. Sein Arbeitsgebiet sind Stromversorgungen für Luft- und Raumfahrt sowie Wehrtechnik. Er schloss sein Elektrotechnikstudium an der University of the Philippines Diliman in Quezon City, Philippinen, mit einem Bachelor-Abschluss ab.

johnmartin.delacruz@analog.com


  1. Optimierte Stromversorgung für 6-GHz-Transceiver
  2. HF-optimierte Stromversorgung


Lesen Sie mehr zum Thema


Das könnte Sie auch interessieren