Tolerant und flexibel zugleich

18. Oktober 2007, 17:07 Uhr | Magnus Henzler

In verteilten Systemarchitekturen gewinnen Mezzanine-Steckverbinder an Bedeutung, da immer mehr Applikationen nicht mehr in großen Schaltschränken, sondern in kleineren Gehäusen Platz finden müssen. Diesem Trend versucht man mit höherer Integration und „gestapelten“ Boards zu begegnen. An die erforderlichen Mezzanine-Steckverbinder – beispielsweise an die MicroSpeed-Serie – werden dabei ganz spezielle Anforderungen gestellt, liegen doch die Geschwindigkeiten für den digitalen Datentransfer auf den Leiterplatten oft schon bei 5 Gbit/s – und der Trend geht in Richtung 10 Gbit/s.

Diesen Artikel anhören

In verteilten Systemarchitekturen gewinnen Mezzanine-Steckverbinder an Bedeutung, da immer mehr Applikationen nicht mehr in großen Schaltschränken, sondern in kleineren Gehäusen Platz finden müssen. Diesem Trend versucht man mit höherer Integration und „gestapelten“ Boards zu begegnen. An die erforderlichen Mezzanine-Steckverbinder – beispielsweise an die MicroSpeed-Serie – werden dabei ganz spezielle Anforderungen gestellt, liegen doch die Geschwindigkeiten für den digitalen Datentransfer auf den Leiterplatten oft schon bei 5 Gbit/s – und der Trend geht in Richtung 10 Gbit/s.

Bei Mezzanine-Steckverbindern sind neben den immer höheren Datenraten mit steigender Board-Komplexität auch immer höhere Kontaktdichten erforderlich. Nicht selten findet man Hunderte von Kontakten in Mezzanine-Applikationen. Bisher wurden entsprechende Boards oft mit großflächigen Steckverbinder- „Clustern“ bestückt. Der einzige Weg für mehr Kontakte war der Einsatz von größeren Steckverbindern. Sinnvoll kann es jedoch sein, wenn man diese Stecker-Cluster in mehrere kleinere Steckverbinder aufteilt, was Vorteile bei der Bestückung und beim Routing mit sich bringt. Jedoch haben Anwender bisher selten mehr als einen der platzsparenden Mezzanine-Steckverbinder auf einem Board platziert, um Toleranzprobleme beim Stecken, bedingt durch die herkömmlichen einschenkligen Kontakte, zu vermeiden.

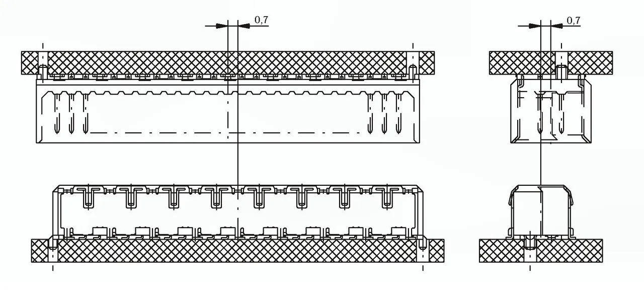
71KO1501.jpg
Bild 1. MicroSpeed-Stecker mit zweischenkligen Miniaturkontakten erlauben eine Fangtoleranz von 0,7 mm bei einem 1-mm-Raster. Bild 2. Komplementär zur MicroSpeed-Signalfamilie ist die MicroSpeed-PowerModul-Familie für die Stromversorgung

MicroSpeed-Stecker mit zweischenkligen Miniaturkontakten haben dagegen einen großen Fangbereich von 0,7 mm bei einem 1-mm-Raster (Bild 1). Damit kann man problemlos mehrere Steckverbinder für Mezzanine-Applikationen auf einem Board platzieren. Entwickler profitieren zudem in Form einer höheren Routing-Flexiblität mit oftmals weniger erforderlichen Leiterplatten- Layern. Die MicroSpeed- Steckverbinder bieten jedoch nicht nur eine hohe Toleranz beim Stecken, sondern auch eine hohe Strombelastbarkeit und hohe Signalgeschwindigkeit. So kann der MicroSpeed mit mindestens 1 A (bei 20 °C) auf allen 50 Kontakten betrieben werden und unterstützt Datenraten bis zu 10 Gbit/s.

Für noch höhere Ströme wurden 5-polige PowerModule entwickelt, mit einer Belastbarkeit bis 8 A pro Kontakt (Bild 2). Darüber hinaus sind sowohl die Signalvarianten als auch die MicroSpeed Power-Steckverbinder in unterschiedlichen Bauhöhen für flexible Leiterplattenabstände von 5 bis 20 mm verfügbar (Bild 3).


  1. Tolerant und flexibel zugleich
  2. Komplementäre Power
  3. Anforderungen an Mezzanine-Steckverbinder

Jetzt kostenfreie Newsletter bestellen!