Infrarot-Übertragung

Die Fernbedienung spinnt!

17. November 2010, 11:47 Uhr | Markus Oberascher
Diesen Artikel anhören

Fortsetzung des Artikels von Teil 1

Die Fernbedienung spinnt!

Übertragungsstrecke

Der nächste Teil des Gesamtsystems ist die Übertragungsstrecke, und die ist im Falle der IRÜbertragung der Raum, in dem man die Fernbedienung benutzt. Die Ausbreitung der Daten ist in einem üblichen Wohnzimmer relativ unproblematisch.

Die Leistung der Fernbedienung reicht in den meisten Fällen für die Abmessung des Raumes leicht aus, und Reflexionen des IR-Signals an Wänden und am Boden begünstigen meist die Übertragung. Da die Übertragungsstrecke leider kein abgeschlossenes System ist, gibt es aber auch sehr viele Einflüsse, welche die Übertragung beeinträchtigen können.

In jedem Raum befinden sich Lampen unterschiedlicher Art. Konventionelle Glüh- und Leuchtstofflampen aller Art produzieren neben dem sichtbaren Licht noch einen erheblichen Anteil an infraroter Strahlung, die auch im selben Wellenlängenbereich wie die IR-Übertragung liegen kann.

Erschwerend kommt hinzu, dass viele Lampen die IR-Strahlung in modulierter Form im Kilohertzbereich abgeben, ebenfalls oft im

Solche Flachbildschirme verwenden für die Hintergrundbeleuchtung modulierte Leuchtstofflampen, die einen hohen Anteil an Infrarot mit ähnlicher Wellenlänge wie die IRÜbertragung emittieren. Dies führt bei vielen Anwendungen zu Problemen. Entweder funktioniert die Fernbedienung nicht mehr so gut oder im schlechtesten Fall gar nicht mehr.

Diese beiden Arten von optischen Störsignalen stellen das größte Problem bei der IR-Übertragung dar. Seitens des Senders lässt sich das leider nicht beheben, Nutz- und Störsignal befinden sich nun mal vermischt im Raum. Man kann nur die Sendeleistung der Fernbedienung so hoch wie möglich wählen, um den Signal-Störabstand zu vergrößern. Doch mit der Störung muss der Empfänger zurechtkommen.

IR-Empfänger

Das IR-Empfangsmodul muss die Daten aus der Umgebung empfangen und ein sauber aufbereitetes, demoduliertes Signal an den Decoder weitergeben, damit dieser den Befehl korrekt auswerten kann.

passend zum Thema

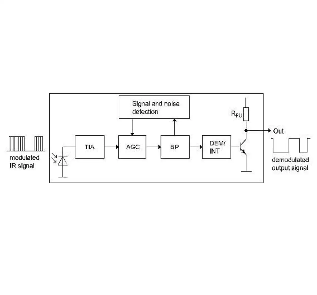
Bild 1: Grundlegender Aufbau von IR-Empfängern. Bei der aktuellen Generation wurden vor allem das Bandpassfilter (BP) und der »Signal and Noise Detection«-Block optimiert.
© Everlight Electronics Europe

Die größte Anforderung in der gesamten Übertragung wird an den IR-Empfänger (Bild 1) gestellt. Denn neben dem gültigen IR-Signal befinden sich in der Umgebung immer Störungen, die der Empfänger ebenfalls aufnimmt.

Die Aufgabe wird noch schwieriger, weil die Intensität des Nutzsignals je nach Entfernung und Winkel der Fernbedienung stark schwanken kann. Aber auch die Stärke der Störungen kann sich ändern. Der Empfänger muss sich daher immer so gut wie möglich an die Umgebung anpassen und zwischen Nutz- und Störsignal unterscheiden können.

Um dies zu gewährleisten, sind IR-Empfänger mit diversen Filtern und Verstärkern mit variabler Verstärkung (Automatic Gain Control, AGC) ausgestattet. Je nach Störungen ändert der Empfänger die Verstärkung.

Diese muss dabei so reguliert werden, dass einerseits eine möglichst große Reichweite erzielt wird, andererseits ist aber auch die Unterdrückung der Störsignale sicherzustellen.

Das IR-Modul muss daher wissen, was ein gültiges und was ein ungültiges Signal ist. Hier ist nun das Know-how der Elektronikentwickler gefragt, denn diese müssen die Beschaffenheit sämtlicher Signale kennen, aber auch wissen, wie man das IC des IR-Empfängers entsprechend entwickelt und abstimmt.

Nachdem es immer wieder neue Signalformen von Störquellen gibt, müssen die Entwickler laufend Analysen anstellen und die IREmpfangsmodule weiterentwickeln. Noch vor wenigen Jahren gab es keine TFT-Fernseher in Haushalten, somit mussten IR-Empfänger auch nicht zwangsläufig auf deren Signalform eingestellt sein.

Heute besteht das Problem darin, dass Empfänger, die vorher einwandfrei funktionierten, dies plötzlich nicht mehr richtig oder gar nicht mehr tun. Als Anwender kann man nicht viel machen, außer vielleicht den Abstand zwischen dem Flachbildfernseher und den anderen Geräten zu vergrößern, damit die Störeinstrahlung schwächer wird.

Doch diese Maßnahme ist in vielen Fällen nicht zielführend, weswegen neue Schaltungen und Regelalgorithmen notwendig waren, um diesem Problem entgegenzutreten.

Allerdings besteht bei der Entwicklung von IR-Empfängern schnell ein Zielkonflikt: Auf der einen Seite gibt es unzählige IR-Protokolle, die unterstützt, andererseits aber auch zahlreiche Störsignale, die unterdrückt werden müssen.

Mit nur einem einzigen IR-Modul lassen sich alle diese Anforderungen nicht erfüllen. Je nach Anforderung sind also unterschiedliche IR-Empfänger zu entwickeln. Um die Anzahl an Varianten nicht übermäßig aufzublähen, sind die Entwickler bestrebt, so viele ähnliche Anforderungen wie möglich in einem einzigen Modul zu vereinen. Somit lässt sich mit ein paar Varianten ein Großteil der Applikationen abdecken.

Ungestört bedienen

Bild 2: Das verbesserte Bandpassfilter der »M«-Serie unterdrückt Störsignale stärker, somit wird eine größere Reichweite und höhere Betriebssicherheit in störbehafteten Umgebungen erzielt
© Everlight Electronics Europe

Speziell für Heimanwendungen ist mittlerweile die Immunität gegen Interferenzen von TFT-Fernsehern absolut notwendig. Everlight Electronics hat nun dafür den Empfänger »IRM-36xxM« auf den Markt gebracht (xx bezeichnet die Trägerfrequenz, IRM-3638M wäre also etwa für 38 kHz).

Mit einem neuen Schaltungsdesign ist es gelungen, diesen Empfänger auf die Emissionen von Flachbildschirmen abzustimmen, ohne die Anzahl der kompatiblen Protokolle drastisch einzuschränken (siehe Bild 2).

Abgesehen von wenigen Ausnahmen kann der IRM-36xxM alle gängigen Protokolle wie NEC, RC5, RC6 empfangen, ist aber speziell für Protokolle mit sehr kurzen Bitzeiten wie RCMM oder RECS-80 optimiert.

Darüber hinaus unterstützt dieser Typ auch Protokolle mit höheren Datenraten und kontinuierlicher Übertragung (unter anderem für IR-Keyboards nötig).

Spielen Kosten eine große Rolle, bietet Everlight den »IRM-36xxT« an.

Dieser Empfänger befindet sich schon länger im Angebot und findet aufgrund der Immunität gegen Interferenzen von Lampen und den meisten TFT-Bildschirmen und wegen der Kompatibilität zu den gängigen Protokollen Anwendung.

Bild 3: Die unterschiedlichen Gehäusevarianten

© Everlight Electronics Europe
© Everlight Electronics Europe
© Everlight Electronics Europe

Alle Bilder anzeigen (3)

Nachdem Entwickler jedoch nie wissen können, welche Protokolle und Störsignale in Zukunft die Funktion der IR-Empfänger herausfordern, werden immer wieder neue Entwicklungen notwendig sein, um den Marktanforderungen gerecht zu werden. Es stehen unterschiedliche Gehäusevarianten zur Verfügung (Bild 3).


  1. Die Fernbedienung spinnt!
  2. Die Fernbedienung spinnt!

Lesen Sie mehr zum Thema


Jetzt kostenfreie Newsletter bestellen!

Weitere Artikel zu Everlight Electronics Europe GmbH